ЗакладкиЗаказы ЗАКАЗАТЬ

Задача 5-7-4-7

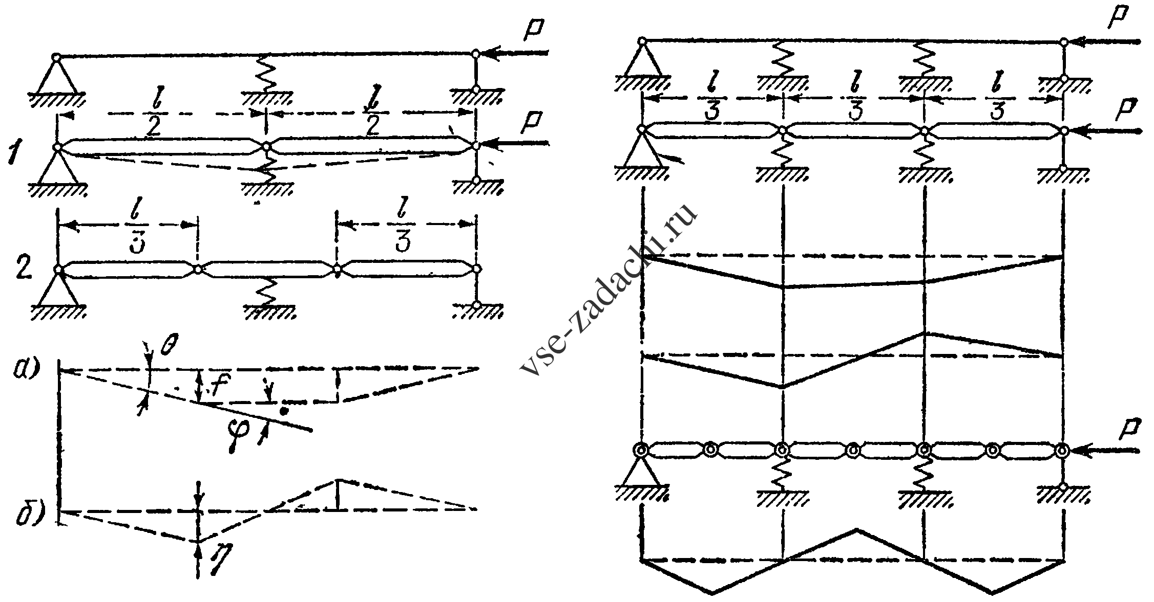
Сжатый стержень, шарнирно опертый по концам, снабжен одной упругой опорой, расположенной посередине пролета, либо двумя упругими опорами, делящими пролет на три равные части. Жесткость опоры равна с. Определить приближенное значение критической силы Pкр методом «упругой шарнирной цепи», т. е. заменяя стержень системой n абсолютно жестких звеньев, соединенных упругими шарнирами. Взаимный угол поворота φ звеньев в каждом шарнире пропорционален изгибающему моменту M: φ = Ml/(EJn).

В случае одной упругой опоры принять n = 2 и n = 3; для двух упругих опор принять n = 3. Рассмотреть отдельно случаи симметричной и антисимметричной форм прогиба при потере устойчивости (см. рисунок). Построить график зависимости между величинами Pкр/Pэ и cl/Pэ, где Pэ — эйлерова нагрузка для неподкрепленного стержня: Pэ = π2EJ/l2.

Задача 5-7-4-7 | Сопротивление материалов

Статус: Задача не решена

Предмет: Сопротивление материалов

Ответ: не указан.