ЗакладкиЗаказы ЗАКАЗАТЬ

Задача 5-7-5-10

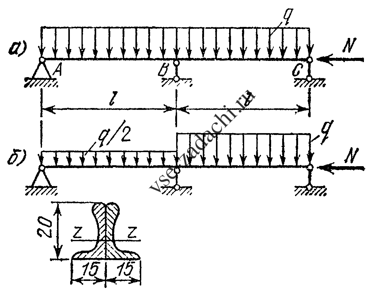
Сечение дюралевой балки составлено из двух бульбуголков. Для каждого уголка Jz = 0,333 см4, Wz = 0,278 см3, F = 0,64 см2. Предел упругости σу = 200 МПа, E = 7 × 104 МПа. Определить изгибающий момент над средней опорой MB, построить эпюру изгибающих моментов и найти максимальное нормальное напряжение.

Задача 5-7-5-10 | Сопротивление материалов

Статус: Задача не решена

Предмет: Сопротивление материалов

Ответ: не указан.