ЗакладкиЗаказы ЗАКАЗАТЬ

Задача 5-2-4-12

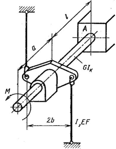
Брус, закрепленный одним концом, несет на себе жесткую траверсу, соединенную с тягами (рис.). Исследовать зависимость реактивного момента MA опоры от длины тяг при действии момента M. Размеры элементов системы считать известными.

Задача 5-2-4-12 | Сопротивление материалов

Статус: Задача не решена

Предмет: Сопротивление материалов

Ответ: не указан.