ЗакладкиЗаказы ЗАКАЗАТЬ

Задача 5-6-2-18

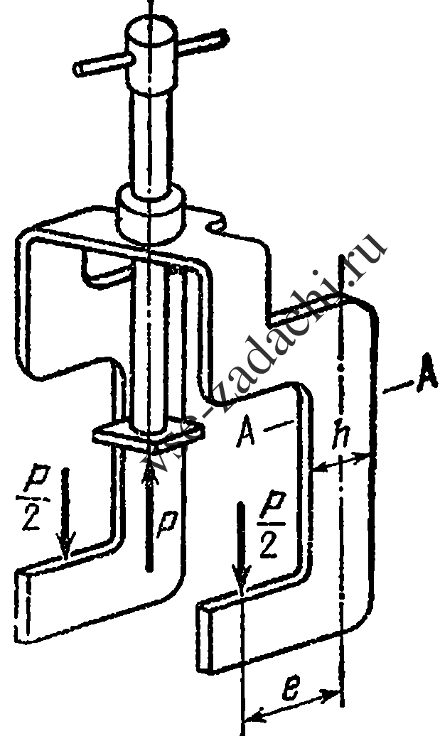
Определить площадь F прямоугольного сечения A—A скобы, предназначенной для правки погнутых поясов лонжерона крыла самолета. Допускаемое напряжение [σ] = 160 МПа. Максимальная сила, создаваемая скобой, равна P = 36 кН. Эксцентриситет e = 2h.

Задача 5-6-2-18 | Сопротивление материалов

Статус: Задача не решена

Предмет: Сопротивление материалов

Ответ: не указан.