ЗакладкиЗаказы ЗАКАЗАТЬ

Задача 5-2-4-17

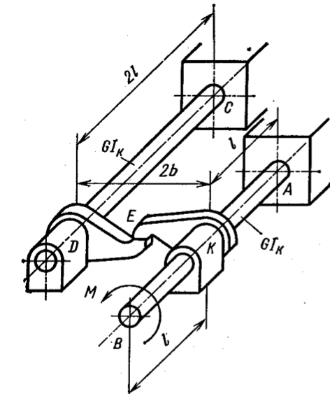
Конструкция, состоящая из упругих стержней АВ и CD и абсолютно жестких рычагов DE и ЕК. нагружена моментом M (рис.). Построить эпюры внутренних моментов и углов поворота сечений для стержней АВ и CD. Размеры элементов конструкции и модуль сдвига G считать известными.

Задача 5-2-4-17 | Сопротивление материалов

Статус: Задача не решена

Предмет: Сопротивление материалов

Ответ: не указан.