ЗакладкиЗаказы ЗАКАЗАТЬ

Задача 5-2-2-3

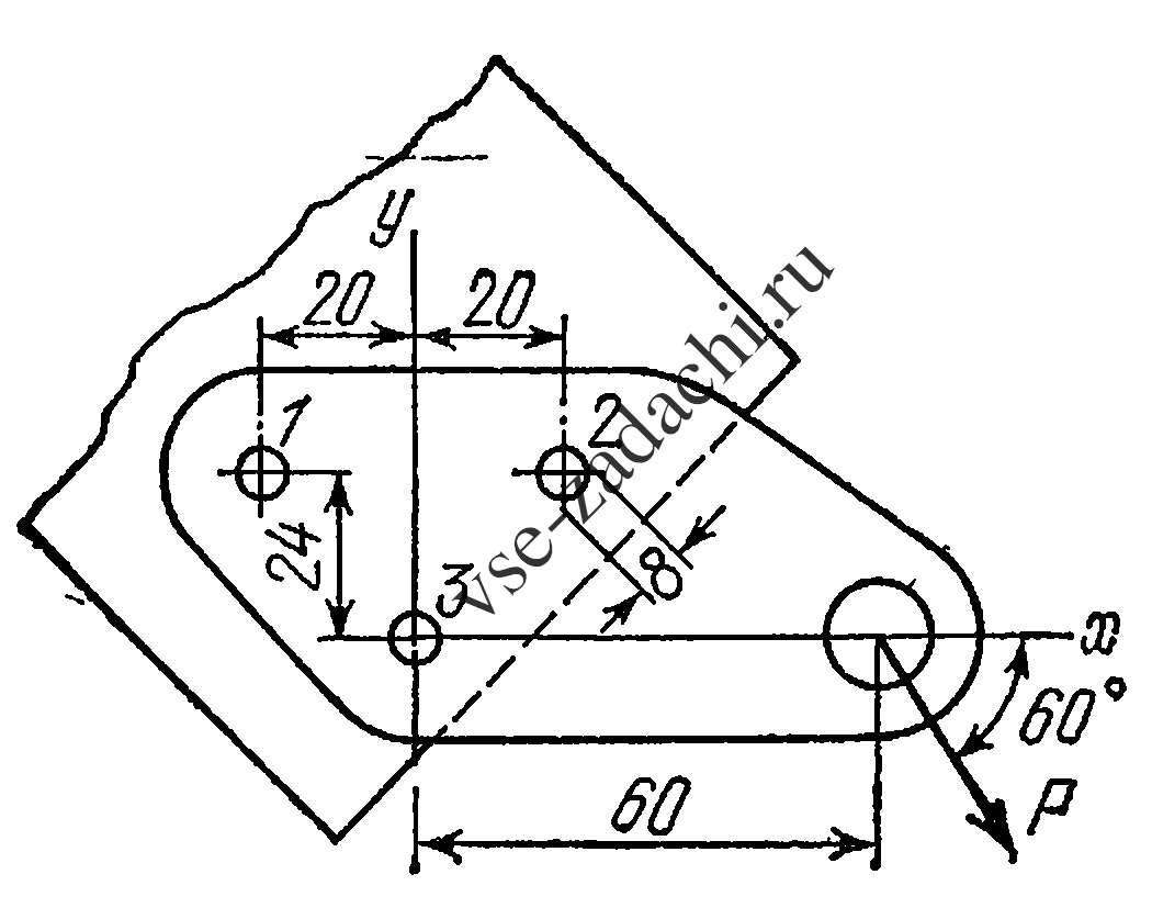
Проушина, нагруженная силой Р = 4,5 кН, приклепана к толстой стенке тремя заклепками диаметром d = 8 мм. Проверить прочность соединения на срез и смятие, если толщина проушины h = 5 мм, а допускаемые напряжения [τ]ср = 110 МПа, [σ]см = 200 МПа.

Задача 5-2-2-3 | Сопротивление материалов

Статус: Задача не решена

Предмет: Сопротивление материалов

Ответ: не указан.