ЗакладкиЗаказы ЗАКАЗАТЬ

Задача 5-2-6-29

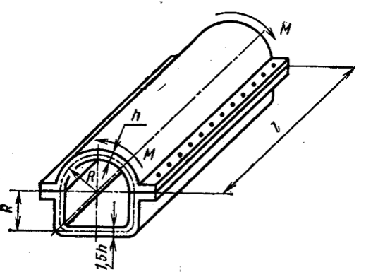
Коробчатый брус, сваренный из двух гнутых профилей (рис. 4,04), скручивается моментами М. Определить усилие Т, действующее на точечную сварку. Дано: R = 40 мм; h — 2 мм; I = 2 м; Λ4 = 700 Н-м.

Задача 5-2-6-29 | Сопротивление материалов

Статус: Задача не решена

Предмет: Сопротивление материалов

Ответ: не указан.