ЗакладкиЗаказы ЗАКАЗАТЬ

Задача 5-11-6-25

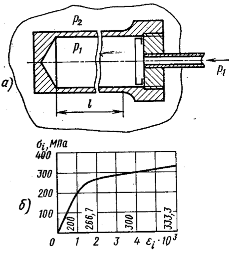
Тонкостенная трубка (рис. а) диаметром Dcp = 50 мм с толщиной стенки h = 1 мм находится под действием внутреннего давления p1 = 215 МПа и наружного p2 = 200 МПа. Определить изменение длины базы l = 200 мм и диаметра трубки. Диаграмма деформирования материала дана на рис. б; μ = 0,5. Нагружение простое.

Задача 5-11-6-25 | Сопротивление материалов

Статус: Задача не решена

Предмет: Сопротивление материалов

Ответ: не указан.