ЗакладкиЗаказы ЗАКАЗАТЬ

Задача 5-5-1-44

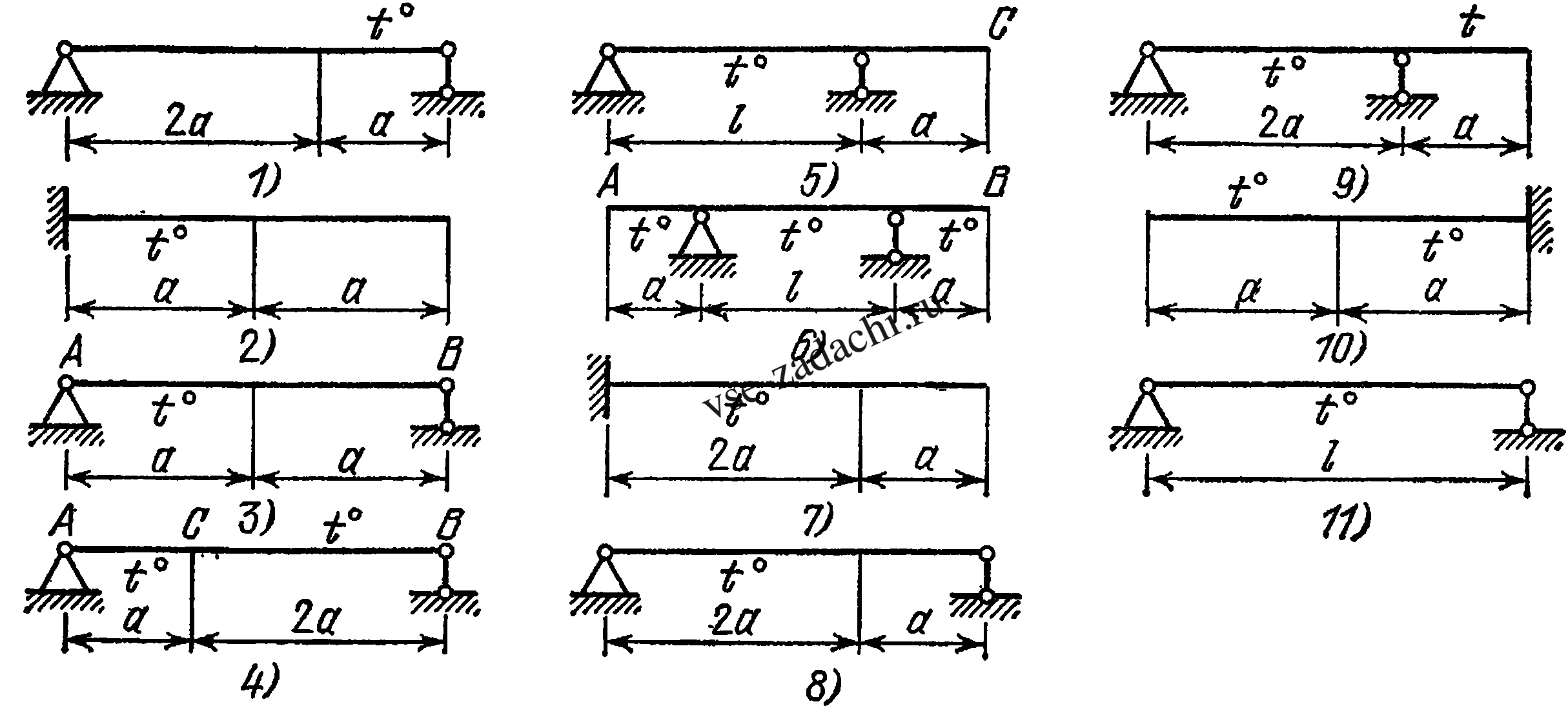
Для балки, нагреваемой снизу или сверху на всей длине или ее части, построить эпюры прогибов и углов поворота (температура изменяется по высоте сечения балки по линейному закону).

Задача 5-5-1-44 | Сопротивление материалов

Статус: Задача не решена

Предмет: Сопротивление материалов

Ответ: не указан.