ЗакладкиЗаказы ЗАКАЗАТЬ

Задача 5-4-3-14

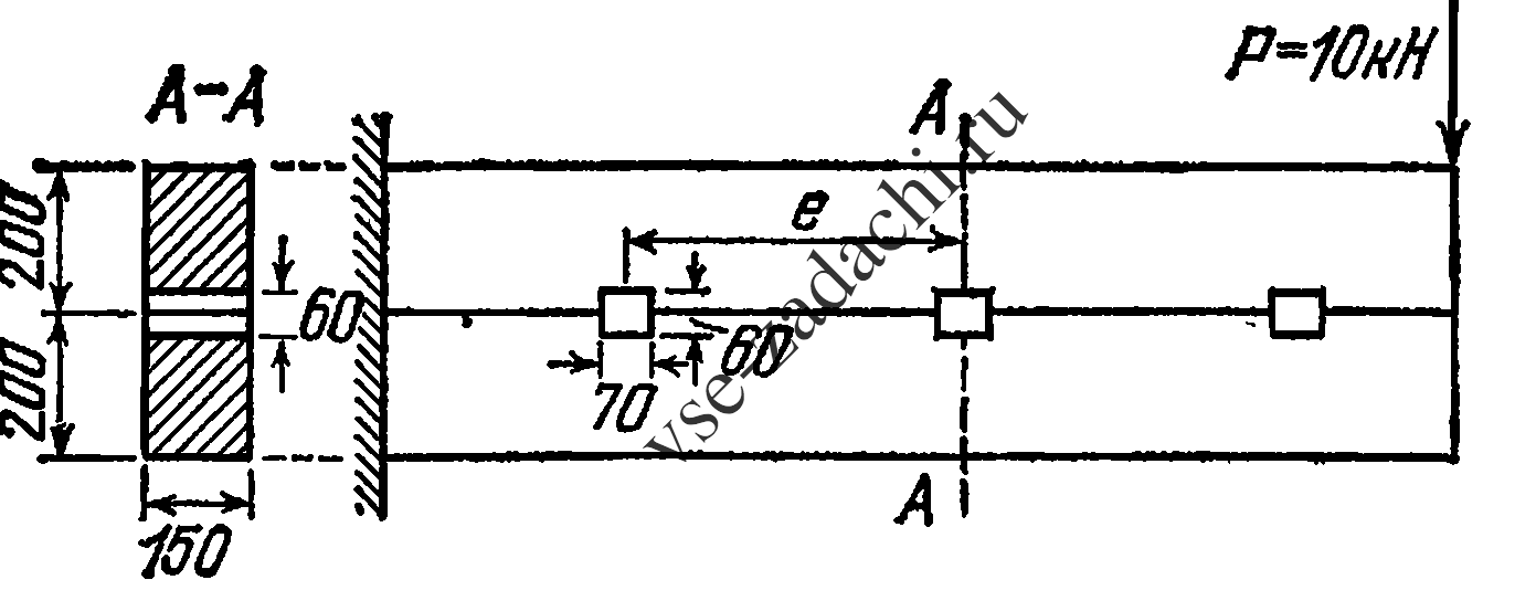
Определить шаг e шпонок в составной консоли. Размеры шпонки: 60 × 70 мм. Допускаемые напряжения: на смятие шпонки [σсм] = 5,0 МПа, на скалывание шпонки и бруса [τ] = 1 МПа.

Задача 5-4-3-14 | Сопротивление материалов

Статус: Задача не решена

Предмет: Сопротивление материалов

Ответ: не указан.