ЗакладкиЗаказы ЗАКАЗАТЬ

Задача 5-3-5-2

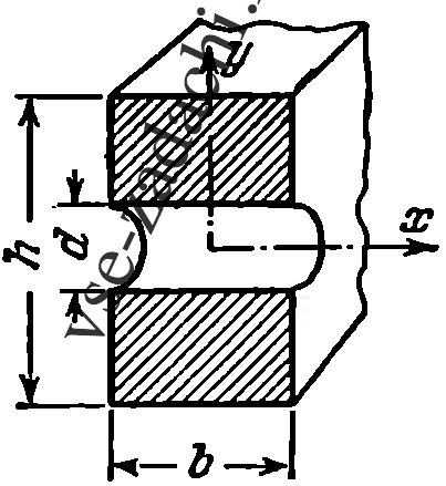
Определить величину главных центральных моментов инерции и моментов сопротивления сечения прямоугольного бруса, ослабленного круглым отверстием (см. рисунок), при заданных размерах: b = 12 см, h = 20 см, d = 5 см.

Задача 5-3-5-2 | Сопротивление материалов

Статус: Задача не решена

Предмет: Сопротивление материалов

Ответ: Jx = 7375 см4; Jy =2160 см4; Wx = 737,5 см3; Wy = 360 см3.