ЗакладкиЗаказы ЗАКАЗАТЬ

Задача 1-2-3-5

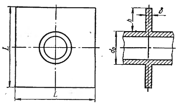
Квадратные ребра прямоугольного сечения насажены на трубу наружным диаметром d0 = 20 мм. Материал ребер — сталь; λс = 45,5 Вт/(м · К). Размеры: L = 40 мм; δ = 0,3 мм (рис.). Средний коэффициент теплоотдачи к поверхности ребер α = 100 Вт/(м2 · К).

Определить коэффициент эффективности ребер.

Задача 1-2-3-5 | Тепломассообмен

Статус: Задача не решена

Предмет: Тепломассообмен

Ответ: E = 0,48.