ЗакладкиЗаказы ЗАКАЗАТЬ

Задача 5-5-1-128

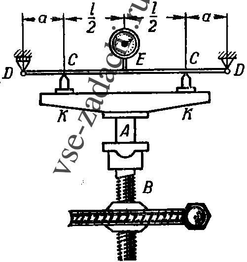
В испытательных машинах системы Коробова усилие, передающееся при помощи винта B на испытуемый образец A, измеряется по величине прогиба стальной балочки DD (см. рисунок). Давление на балочку DD передается в точках C с помощью жесткой траверсы KK.

При размерах балочки DD = 1 м, a = 0,1 м и поперечном сечении ее b = 6 см и h = 4 см установить величину нагрузки Р, приложенной к образцу, при приращении отсчетов по прогибомеру E на 1 мм. На каком расстоянии а следует расположить опорные призмы на траверсе, чтобы прогибу балочки DD в 1 мм соответствовала нагрузка P = 500 кг?

Задача 5-5-1-128 | Сопротивление материалов

Статус: Задача не решена

Предмет: Сопротивление материалов

Ответ: P = 1040 кг; a = 23 см.