ЗакладкиЗаказы ЗАКАЗАТЬ

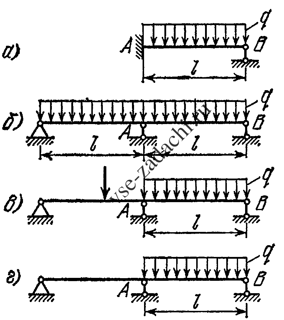
Задача 5-5-4-3

Найти предельную нагрузку qпр, реакции опор и место максимального изгибающего момента в пролете.

Задача 5-5-4-3 | Сопротивление материалов

Статус: Задача не решена

Предмет: Сопротивление материалов

Ответ: не указан.