ЗакладкиЗаказы ЗАКАЗАТЬ

Задача 5-4-1-49

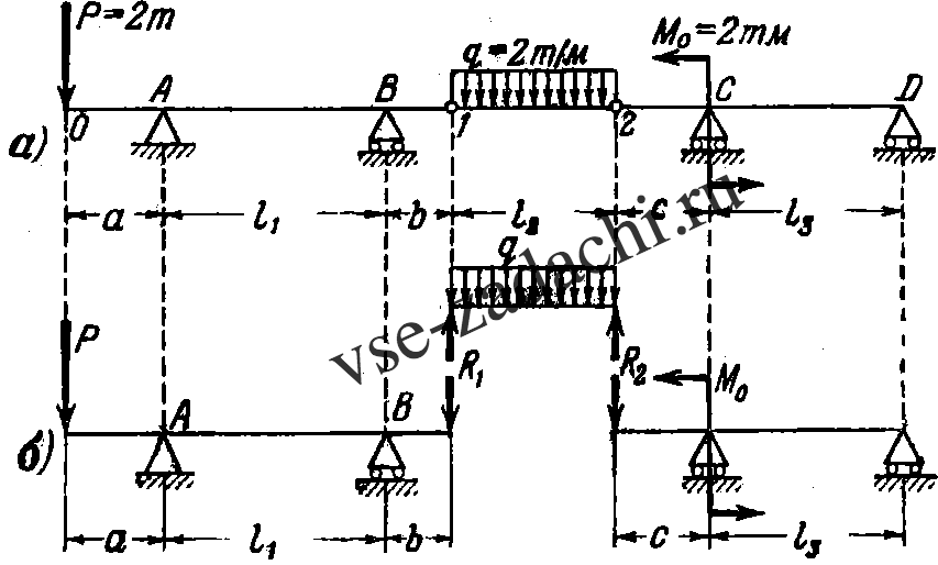
Построить эпюры Q и М для четырехопорной балки с промежуточными шарнирами при следующих размерах:

a = 2 м; l1 = 4 м; Р = 2 т;

b = 1 м; l2 = 3 м; q = 2 т/м;

c = 3 м; l3 = 4 м; M = 2 тм.

Указание. Балку удобно расчленить на три самостоятельные: одну подвесную 1—2, опирающуюся через шарниры 1 и 2 на консоли b и c, и две основные балки с консолями (0—1 и 2—D). Давления, передающиеся через шарниры от подвесной балки на консоли основных, равны реакциям R1 и R2 двухопорной подвесной балки, но направлены в противоположные стороны (см. схему б). Эпюры Q и М можно теперь строить для каждой из балок в отдельности.

Задача 5-4-1-49 | Сопротивление материалов

Статус: Задача не решена

Предмет: Сопротивление материалов

Ответ: min М = -11 тм; max Q = 3 т.